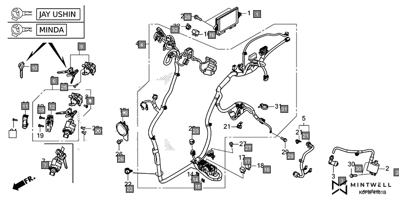
F-41-1 - WIRE HARNESS(SCV110N,P)
HONDA Activa SCV110P/SR · 44 parts
Parts in This Assembly (44)
| Ref # | Part Number | Description | Qty | |
|---|---|---|---|---|
| 1 | 30400-K0P-DD1 | CONTROL UNIT, ENGINE | 1 | |
| 2 | 30500-K0P-661 | COIL ASSY., IGNITION(WINGS) | 1 | |
| 2 | 30500-K0P-DA1 | COIL ASSY., IGNITION(JAGDISH) | 1 | |
| 3 | 30700-K0L-D01 | CAP ASSY., NOISE SUPPRESSOR (MINDA) | 1 | |
| 3 | 30700-K0P-D01 | CAP ASSY., NOISE SUPPRESSOR (ANU) | 1 | |
| 4 | 32100-K0P-690 | HARNESS, WIRE | 1 | |
| 4 | 32100-K0P-DD0 | HARNESS, WIRE | 1 | |
| 6 | 35010-K0P-D00 | KEY SET(JAY USHIN) | 1 | |
| 6 | 35010-K0L-D00 | KEY SET (MINDA) | 1 | |
| 7 | 35102-K0L-D01 | SWITCH ASSY. SET, COMBINATION & LOCK(MINDA) | 1 | |
| 7 | 35102-K0P-D01 | SWITCH ASSY. SET, COMBINATION & LOCK(JAY USHIN) | 1 | |
| 8 | 35109-K86-D01 | BOLT, SOCKET, 5X8(MINDA) | 1 | |
| 8 | 35109-KWP-H01 | BOLT, SOCKET, 5X8(JAY USHIN) | 1 | |
| 9 | 35110-K0P-D01 | KEY, SHUTTER(JAY USHIN) | 1 | |
| 9 | 35110-K0L-D01 | KEY, SHUTTER (MINDA) | 1 | |
| 10 | 35121-KWP-H00 | KEY, BLANK (JAY USHIN) | 1 | |
| 10 | 35121-K86-D00 | KEY, BLANK (D0KEYTOP2REPORDER) | 1 | |
| 11 | 35191-K0L-D01 | COVER, CABLE (MINDA) | 1 | |
| 11 | 35191-K0P-D01 | COVER, CABLE(JAY USHIN) | 1 | |
| 12 | 35195-K0P-D01 | SWITCH ASSY., SEAT OPENER (JAY USHIN) | 1 | |
| 12 | 35195-K0L-D01 | SWITCH ASSY., FUEL LID & SEAT OPENER (MINDA) | 1 | |
| 13 | 38110-K0L-D01 | HORN COMP. | 1 | |
| 13 | 38110-K0P-D01 | HORN COMP. | 1 | |
| 14 | 38221-SNA-A31 | FUSE, BLADE(7.5A) | 5 | |
| 15 | 38221-SNA-A61 | FUSE, BLADE(20A) | 1 | |
| 16 | 38301-K0P-601 | RELAY COMP., WINKER(DHOOT) | 1 | |
| 16 | 38301-K0P-D01 | RELAY COMP., WINKER(STAR) | 1 | |
| 17 | 38501-KVZ-631 | RELAY ASSY., POWER (MICRO ISO 4P)(MITSUBA) | 1 | |
| 18 | 38502-GGZ-J01 | RELAY COMP., POWER (MICRO ISO 5P)(MITSUBA) | 1 | |
| 18 | 38502-K81-N01 | RELAY COMP., POWER (MICRO ISO 5P)(OMRON) | 1 | |
| 19 | 90101-MT4-000 | SCREW, SCREEN SETTING | 2 | |
| 20 | 90164-KPL-900 | SCREW, FLAT, U LOCK, 6X12 | 2 | |
| 21 | 91535-STK-003 | CLIP, COUPLER(DARK BLUE) | 2 | |
| 22 | 91558-K0L-D01 | CLIP, WIRE HARNESS | 1 | |
| 23 | 91771-MKK-H11 | CAP, DUMMY(6P)(RED) | 1 | |
| 24 | 93901-24320 | SCREW, TAPPING, 4X12 | 1 | |
| 25 | 93903-34420 | SCREW TAPPING 4X16 | 1 | |
| 26 | 95701-06012-00 | BOLT, FLANGE, 6X12 | 1 | |
| 27 | 95701-06012-08 | BOLT, FLANGE, 6X12 | 1 | |
| 28 | 95701-06020-00 | BOLT, FLANGE, 6X20 | 2 | |
| 29 | 96001-06016-00 | BOLT, FLANGE SH. 6 X 16 | 1 | |
| 30 | 96001-06022-00 | BOLT, FLANGE, SH. 6 X 22 | 2 | |
| 31 | 91542-SWY-003 | CLIP, HARNESS BAND(BLACK)(158.9MM) | 1 | |
| 32 | 90651-K1N-V61 | CLIP, COUPLER(DARK BLUE)...... | 1 | |