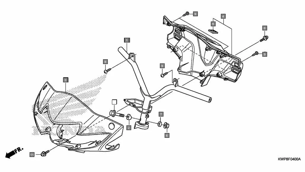
F-4 - STEERING HANDLE/HANDLE COVER
HONDA Activa SCV110G · 14 parts
Parts in This Assembly (14)
| Ref # | Part Number | Description | Qty | |
|---|---|---|---|---|
| 1 | 53100-KWP-910 | HANDLE COMP., STEERING | 1 | |
| 2 | 53124-KWP-900 | COLLAR HANDLE SET | 1 | |
| 3 | 53205-KWP-F00ZA | COVER, FR. HANDLE *YR329M* MAJESTIC BROWN METALLIC | 1 | |
| 3 | 53205-KWP-F00ZB | COVER, FR. HANDLE *R357M* LUSTY RED METALLIC | 1 | |
| 3 | 53205-KWP-F00ZC | COVER, FR. HANDLE *NH1* BLACK | 1 | |
| 3 | 53205-KWP-F00ZD | COVER, FR. HANDLE *NHB63P* PEARL AMAZING WHITE | 1 | |
| 3 | 53205-KWP-F00ZE | COVER, FR. HANDLE *NHA04M* GENY GRAY METALLIC | 1 | |
| 3 | 53205-KWP-F00ZF | COVER, FR. HANDLE *B220M* TRANCE BLUE METALLIC | 1 | |
| 4 | 53250-KWP-F00ZA | COVER COMP., RR. HANDLE *NH1* BLACK | 1 | |
| 5 | 86150-KWS-601 | EMBLEM, PRODUCT(SJS) | 1 | |
| 7 | 90502-KWP-900 | COLLAR B HNDL SET | 1 | |
| 8 | 93891-05016-07 | SCREW WASH 5X16 | 2 | |
| 10 | 95801-10055-08 | BOLT, FLANGE, 10X55 | 1 | |
| 10 | 95802-10055-08 | BOLT, FLANGE, 10X55 | 1 | |