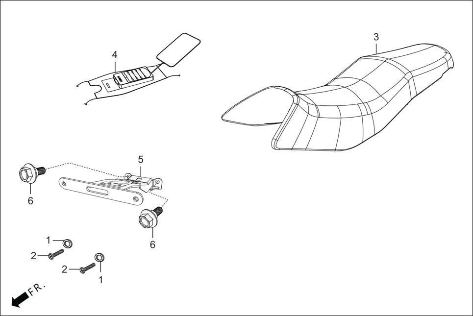
F-29A - COVER SEAT ASSY.(OPTIONAL)
Hero Glamour BSVI Techno OBD II(Jan,2023) · 6 parts
Parts in This Assembly (6)
| Ref # | Part Number | Description | Qty | |
|---|---|---|---|---|
| 3 | 99630-AAN-B00 | COVER ASSY. SEAT | 1 | |
| 3 | 99631-AAN-B00 | COVER ASSY. SEAT | 1 | |
| 3 | 99632-AAN-B00 | COVER ASSY. SEAT | 1 | |
| 3 | 99640-AAN-B00 | COVER ASSY. SEAT | 1 | |
| 4 | 99810-AAN-B01 | PREMIUM COVER ASSY FUEL TANK | 1 | |
| 6 | 90111-06016-07 | BOLT FLANGE 6MM | 2 | |