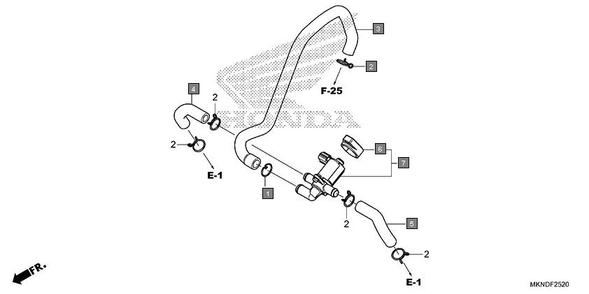
F-25-20 - AIR INJECTION CONTROL VALVE

HONDA CBR650R CBR650RAL · 7 parts

F-25-20 AIR INJECTION CONTROL VALVE assembly diagram for HONDA CBR650R CBR650RAL

Parts in This Assembly (7)

Ref # Part Number Description Qty
1 17366-MJ0-000 CLIP B, TUBE 1
2 17724-102-700 CLIP, SUB TANK HOSE 5
3 18651-MKN-D50 TUBE(AISV-AIR CLEANER) 1
4 18653-MKN-D50 TUBE, R. AIR INJECTION CONTROL VALVE 1
5 18654-MKN-D50 TUBE, L. AIR INJECTION CONTROL VALVE 1
6 36172-MKN-D51 SUSPENSION, SOLENOID VALVE 1
7 36450-MKN-D51 VALVE ASSY., EX. AIR INJECTION 1
Pinch or scroll to zoom · Drag to pan · Double-tap to toggle