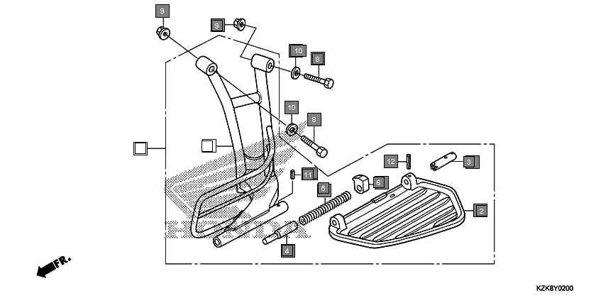
FOP-2 - SARI STEP SET
HONDA Dio SCV110FD · 12 parts
Parts in This Assembly (12)
| Ref # | Part Number | Description | Qty | |
|---|---|---|---|---|
| 1 | 83520-KRP-900 | STEP ASSY., SARI | 1 | |
| 2 | 83521-KPL-900 | PLATE, SARI STEP | 1 | |
| 3 | 83522-KPL-900 | STEP, PIN A, SARI | 1 | |
| 4 | 83523-KPL-900 | STEP, PIN B, SARI | 1 | |
| 5 | 83524-KPL-900 | SPRING, STEP | 1 | |
| 6 | 83526-KPL-900 | STOPPER, STEP RUBBER | 1 | |
| 7 | 83530-KRP-900 | STEP COMP., SARI | 1 | |
| 8 | 92201-08045-0A | BOLT, HEX., 8X45 | 2 | |
| 9 | 94050-08000 | NUT, FLANGE, 8MM | 2 | |
| 10 | 94103-08800 | WASHER, PLAIN, 8MM | 2 | |
| 11 | 94305-30142 | PIN, SPRING 3X14 | 1 | |
| 11 | 94305-30282 | PIN, SPRING 3X28 | 1 | |