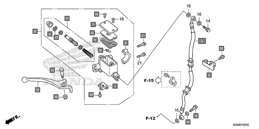
F-5 - FRONT BRAKE MASTER CYLINDER
HONDA SP125 CBF125MN · 19 parts
Parts in This Assembly (19)
| Ref # | Part Number | Description | Qty | |
|---|---|---|---|---|
| 1 | 35340-KSP-B51 | SWITCH ASSY., FR. STOP | 1 | |
| 2 | 45126-K0N-D01 | HOSE COMP. A, FR. BRAKE | 1 | |
| 3 | 45156-K0N-D00 | CLAMPER A, FR. BRAKE HOSE | 1 | |
| 4 | 45504-410-003 | BOOT COMP. | 1 | |
| 5 | 45510-K0N-D01 | CYLINDER SUB ASSY., FR. BRAKE MASTER(NISSIN) | 1 | |
| 6 | 45512-MA6-006 | PROTECTOR | 1 | |
| 7 | 45513-HA2-006 | CAP, MASTER CYLINDER | 1 | |
| 8 | 45517-166-006 | HOLDER, MASTER CYLINDER | 1 | |
| 9 | 45520-GE2-006 | DIAPHRAGM | 1 | |
| 10 | 45521-K21-901 | PLATE, DIAPHRAGM | 1 | |
| 11 | 45530-K03-M61 | CYLINDER SET, MASTER(NISSIN) | 1 | |
| 12 | 53175-KET-921 | LEVER, R. STEERING HANDLE | 1 | |
| 13 | 90114-KGH-900 | BOLT, HANDLE LEVER PIVOT | 1 | |
| 14 | 90145-GW3-981 | BOLT, OIL, 10X22 | 2 | |
| 15 | 90508-K21-921 | SCREW-WASHER, 4X12 | 1 | |
| 16 | 90545-300-000 | WASHER ,OIL BOLT | 4 | |
| 17 | 90651-K03-M61 | CIRCLIP, INTERNAL, 18.8 | 1 | |
| 18 | 93600-04012-1G | SCREW, FLAT, 4X12 | 2 | |
| 21 | 96001-06022-07 | BOLT, FLANGE, SH.6X22 | 2 | |