ISO 9001:2015 Certified
+91 92664 24442
[email protected]
Karol Bagh, New Delhi
Catalogue
About
Contact
Catalogue
About
Contact
⌘
K
See all results
Home
/
Catalogue
/
HONDA
/
Livo CBF110BEN
/
Parts
/
75581-GN8-920
OEM Part
OEM Part
75581-GN8-920
SET SPG LOCK KEY
Qty Required: 1
Ref #3 in Assembly
Add to Cart
Part of Assembly
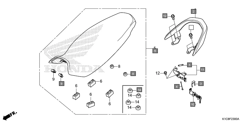
F-23
SEAT
11 parts in this assembly
Assembly Diagram
Ref #3
Supported Vehicles
146
H
HONDA Livo CBF110BEN
Current
H
HERO Ignitor (NOV, 2014)
H
HONDA CB Hornet 160R CBF160MAJ
H
HONDA CB Hornet 160R CBF160MAK
H
HONDA CB Hornet 160R CBF160MG
H
HONDA CB Hornet 160R CBF160MH
H
HONDA CB Hornet 160R CBF160MJ
H
HONDA CB Shine SP CBF125MG
Show 138 more
Related Parts
16574-K67-A00
SPRING, LEVER
50400-K1C-DC0ZA
GRIP, RR. *NH1* BLACK
77156-K0V-B01
CABLE, SEAT LOCK
77200-K1C-DC1ZA
SEAT ASSY., DOUBLE *TYPE1*
77206-KG8-900
RUBBER, SEAT SETTING
77207-KYA-600
RUBBER B, SEAT SETTING
View all 11 parts in this assembly
Quick Actions
Copy Part Number
Search All Parts