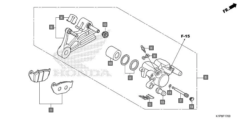
F-17 - REAR BRAKE CALIPER
HONDA CB200X CB190XS · 15 parts
Parts in This Assembly (15)
| Ref # | Part Number | Description | Qty | |
|---|---|---|---|---|
| 1 | 06435-KSP-B02 | PAD SET, RR | 1 | |
| 1 | 06435-KRE-G32 | PAD SET, RR. | 1 | |
| 2 | 06451-961-405 | SEAL SET, PISTON | 1 | |
| 3 | 43108-KSP-B51 | SPRING, PAD(NISSIN) | 1 | |
| 4 | 43112-KSP-B01 | RETAINER | 1 | |
| 5 | 43150-K43-911 | CALIPER SUB ASSY., RR.(NISSIN) | 1 | |
| 6 | 43190-K43-911 | BRACKET SUB ASSY., RR. | 1 | |
| 7 | 43215-KGH-901 | PIN,HANGER | 1 | |
| 8 | 43352-568-003 | SCREW, BLEEDER(NISSIN) | 1 | |
| 9 | 43353-461-771 | CAP, BLEEDER | 1 | |
| 10 | 45107-MA6-006 | PISTON | 1 | |
| 11 | 45111-MAJ-G41 | STOPPER RING | 1 | |
| 12 | 45132-166-016 | BOOT, PIN BUSH(NISSIN) | 1 | |
| 13 | 45133-MA3-006 | BOOT B | 1 | |
| 14 | 45203-MCC-006 | PLUG,PIN | 1 | |