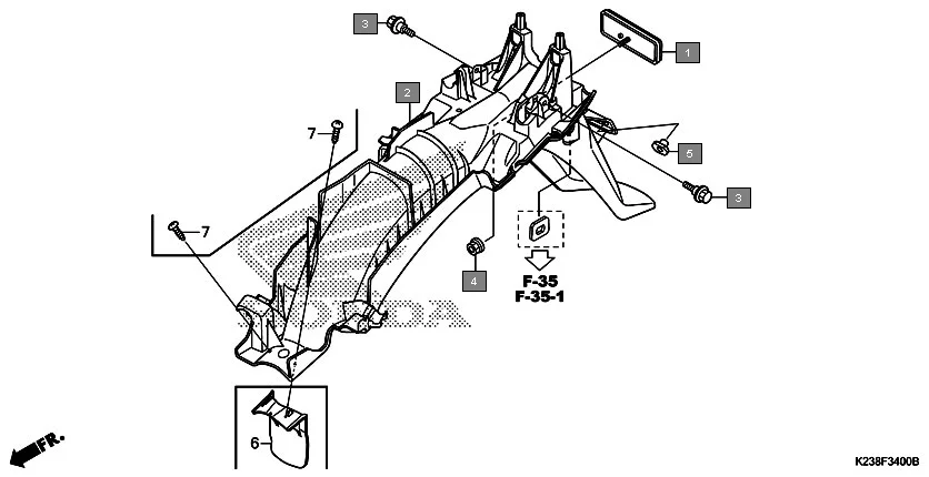
F-34 - REAR FENDER
HONDA Dream Neo CB110CG · 4 parts
Parts in This Assembly (4)
| Ref # | Part Number | Description | Qty | |
|---|---|---|---|---|
| 1 | 33741-KPL-902 | REFLECTOR, REFLEX | 1 | |
| 2 | 80100-K23-900 | FENDER, RR. | 1 | |
| 4 | 90301-KWN-901 | NUT, U, 5MM(FUJI SEIMITSU)..... | 1 | |
| 5 | 90311-KTE-910 | NUT REAR FENDER | 2 | |