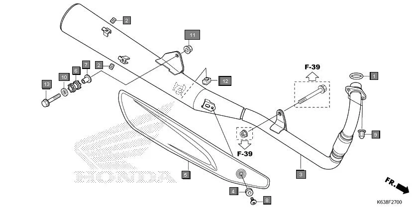
F-27 - EXHAUST MUFFLER
HONDA CD 110 Dream CB110C2H · 13 parts
Parts in This Assembly (13)
| Ref # | Part Number | Description | Qty | |
|---|---|---|---|---|
| 1 | 18291-GE2-921 | GASKET, EX. PIPE | 1 | |
| 2 | 18293-MCA-A20 | RUBBER, PROTECTOR PACKING | 2 | |
| 3 | 18300-K63-D30 | MUFFLER COMP., EX. | 1 | |
| 4 | 18345-MBT-610 | RUBBER, PROTECTOR, MOUNT | 1 | |
| 5 | 18355-K63-D30 | COVER, MUFFLER | 1 | |
| 6 | 18421-KBA-900 | RUBBER, MUFFLER MOUNTING | 1 | |
| 7 | 18422-KBA-900 | COLLAR, MUFFLER MOUNTING | 1 | |
| 8 | 90113-GFP-B00 | SCREW, PAN, 6X12 | 1 | |
| 9 | 90305-KSP-900 | NUT, 8MM EXP. | 2 | |
| 10 | 90505-KY4-900 | WASHER,PLAIN ,8 MM | 1 | |
| 11 | 94050-08000 | NUT, FLANGE, 8MM | 1 | |
| 12 | 95011-61000 | RUBBER A, STAND STOPPER | 1 | |
| 13 | 95801-08045-08 | BOLT, FLANGE, 8X45 | 1 | |