F-2 - SPEEDOMETER
Hero XTREME 250R(Mar., 2025) · 4 parts
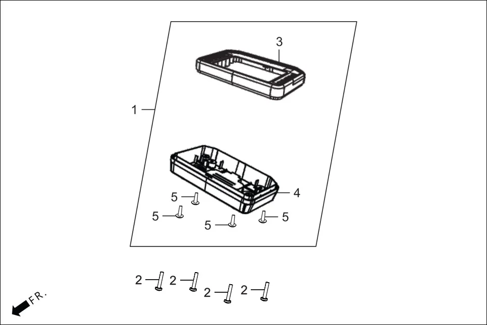
Parts in This Assembly (4)
| Ref # | Part Number | Description | Qty | |
|---|---|---|---|---|
| 1 | 37100-ACW-001 | METER ASSY COMB | 1 | |
| 3 | 37111-ACA-001 | UPPER CASE ASSY | 1 | |
| 4 | 37112-ACA-001 | LOWER CASE ASSY | 1 | |
| 5 | 93903-22480 | SCREW TAPPING 3 X 16 | 4 | |