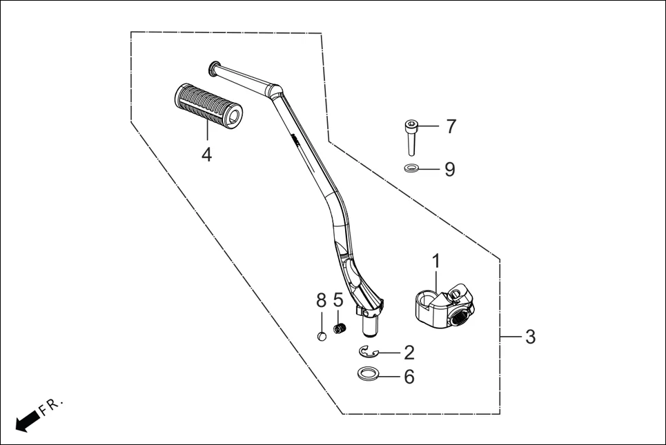
F-17A - KICK STARTER
Hero XPULSE 200 OBDII 4V(April,2023) · 9 parts
Parts in This Assembly (9)
| Ref # | Part Number | Description | Qty | |
|---|---|---|---|---|
| 1 | 28241-AAK-H00 | JOINT KICK ARM | 1 | |
| 2 | 28293-333-000 | CLIP, KICK STARTER ARM | 1 | |
| 3 | 28300-ABW-L00 | ARM ASSY. KICK STARTER | 1 | |
| 4 | 28311-KC5-000 | STARTER RUBBER, KICK | 1 | |
| 5 | 28333-KK0-000 | SPRING, KICK STARTER ARM SET | 1 | |
| 6 | 90505-KRM-860 | WASHER, 15.5 X 22 | 1 | |
| 7 | 95801-08038-07 | BOLT FLANGE 8X38 | 1 | |
| 8 | 96211-08000 | BALL STEEL 8 MM | 1 | |
| 9 | 94102-08000 | WASHER, PLAIN, 8MM | 1 | |