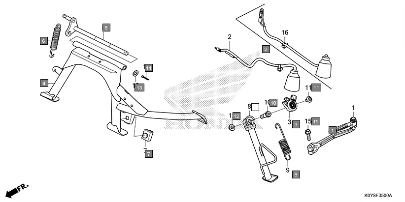
F-35 - STAND/KICK STARTER ARM
HONDA Dio SCV110FS · 16 parts
Parts in This Assembly (16)
| Ref # | Part Number | Description | Qty | |
|---|---|---|---|---|
| 1 | 28300-K0P-D00 | ARM ASSY., KICK STARTER | 1 | |
| 2 | 32106-K0L-D00 | SUB HARNESS, SIDE STAND | 1 | |
| 3 | 35700-K0J-N01 | SWITCH ASSY., SIDE STAND | 1 | |
| 4 | 50500-K0P-D00 | STAND COMP., MAIN | 1 | |
| 5 | 50503-K0L-D00 | SHAFT, MAIN STAND | 1 | |
| 6 | 50504-K0L-D00 | SPRING, MAIN STAND | 1 | |
| 7 | 50505-GR1-000 | RUBBER, STAND STOPPER | 1 | |
| 8 | 50530-K0P-D20 | BAR COMP., SIDE STAND | 1 | |
| 8 | 50530-K0Y-D00 | BAR COMP,SIDE STAND | 1 | |
| 9 | 50541-K0L-D00 | SPRING, SIDE STAND | 1 | |
| 10 | 90108-KZL-860 | BOLT, SIDE STAND PIVOT | 1 | |
| 11 | 90132-KYJ-960 | BOLT, SPECIAL, 6X16 | 1 | |
| 12 | 90304-K0L-D10 | NUT, SIDE STAND | 1 | |
| 13 | 94102-10000 | WASHER, PLAIN, 10MM | 1 | |
| 14 | 94201-25180 | PIN, SPLIT, 2.5X18 | 1 | |
| 15 | 95701-08025-07 | BOLT FLANGE 8X25 | 1 | |