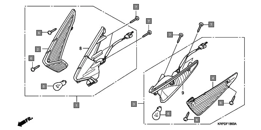
F-19 - FRONT WINKER
HONDA Dio SCV100FA · 8 parts
Parts in This Assembly (8)
| Ref # | Part Number | Description | Qty | |
|---|---|---|---|---|
| 1 | 33400-KRP-981 | WINKER ASSY., R. FR. (12V 21W) | 1 | |
| 2 | 33402-KRP-901 | LENS, R. FR. WINKER | 1 | |
| 3 | 33450-KRP-981 | WINKER ASSY., L. FR. (12V 21W) | 1 | |
| 4 | 33452-KRP-901 | LENS, L. FR. WINKER | 1 | |
| 5 | 34904-KRP-980 | BULB, WINKER (12V 21W) | 2 | |
| 6 | 93901-24420 | SCREW, TAPPING, 4X16 | 4 | |
| 7 | 93903-25220 | SCREW, TAPPING, 5X12 | 6 | |
| 7 | 93903-35220 | SCREW, TAPPING, 5X12 | 6 | |