OEM Part
OEM Part
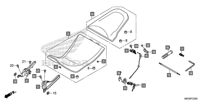
77322-MKS-E00
STAY, SEAT LOCK CABLE B
Qty Required: 1
Ref #14 in Assembly
Part of Assembly
F-23
SEAT
19 parts in this assembly
Assembly Diagram
Ref #14
Supported Vehicles6
Related Parts
38235-S04-003
PULLER, MINI FUSE(SUMITOMO)
50352-GS6-000
RUBBER, LINK STOPPER
77100-MKS-E21ZB
SEAT COMP., MAIN *TYPE2*
77110-KA3-730
RUBBER, SEAT MOUNTING
77156-MKS-E01
CABLE, SEAT LOCK
77160-MKS-E00
COVER, R. SEAT UNDER