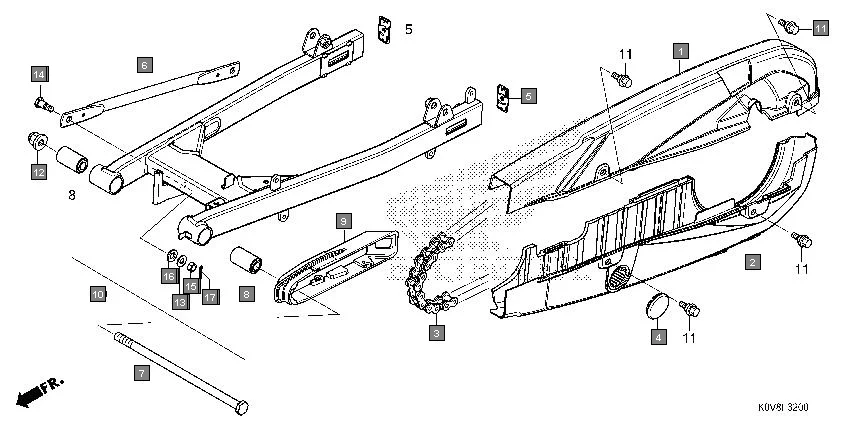
F-32 - SWINGARM
HONDA CB Shine/ Shine 125 CBF125P · 14 parts
Parts in This Assembly (14)
| Ref # | Part Number | Description | Qty | |
|---|---|---|---|---|
| 1 | 40510-K0N-D00 | CASE, DRIVE CHAIN UPPER | 1 | |
| 2 | 40520-K0N-D00 | CASE, DRIVE CHAIN LOWER | 1 | |
| 3 | 40530-K55-951 | CHAIN, DRIVE(DAIDO) (DID420ADV-118LE) | 1 | |
| 3 | 40530-K55-952 | CHAIN, DRIVE(LGB) (LGB R420OR-118LE) | 1 | |
| 4 | 40545-KWV-010 | CAP, CHAIN CASE PEEP HOLE | 1 | |
| 5 | 40546-KWF-900 | CAP, SWINGARM END | 2 | |
| 6 | 43431-KTE-910 | ARM, RR. BRAKE STOPPER | 1 | |
| 7 | 52101-KTC-900 | BOLT, SWINGARM PIVOT | 1 | |
| 8 | 52147-K0N-D00 | BUSH, SWINGARM PIVOT RUBBER | 2 | |
| 9 | 52170-K0N-D00 | SLIDER, CHAIN | 1 | |
| 10 | 52200-K0N-D00 | SWINGARM SUB ASSY., RR. | 1 | |
| 13 | 90551-K0N-D00 | WASHER, PLAIN, 8MM | 1 | |
| 14 | 92812-10000 | BOLT A BRAKE STOPPER ARM | 1 | |
| 16 | 94111-10000 | WASHER, SPRING, 10MM | 1 | |