F-23-10 - REAR COWL

HONDA Dream Neo CB110CMH · 23 parts

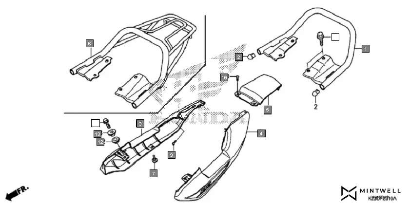
F-23-10 REAR COWL assembly diagram for HONDA Dream Neo CB110CMH

Parts in This Assembly (23)

Ref # Part Number Description Qty
1 50400-K23-D80 GRIP COMP., RR. 1
2 50415-KTE-910 CAP, RR. GRIP END 2
2 81220-K63-E40 CAP, RR. GRIP END 2
3 77240-K23-D60ZA COWL SET, R. RR.(WL) *TYPE4* 1
3 77240-K23-D60ZB COWL SET, R. RR.(WL) *TYPE3* 1
3 77240-K23-D60ZC COWL SET, R. RR.(WL) *TYPE2* 1
3 77240-K23-D60ZD COWL SET, R. RR.(WL) *TYPE1* 1
4 77250-K23-D60ZA COWL SET, L. RR.(WL) *TYPE4* 1
4 77250-K23-D60ZB COWL SET, L. RR.(WL) *TYPE3* 1
4 77250-K23-D60ZC COWL SET, L. RR.(WL) *TYPE2* 1
4 77250-K23-D60ZD COWL SET, L. RR.(WL) *TYPE1* 1
5 77280-K23-D60ZB COWL SET, RR. CENTER(WL) *TYPE3* 1
5 77280-K23-D60ZC COWL SET, RR. CENTER(WL)*TYPE2* 1
5 77280-K23-D60ZD COWL SET, RR. CENTER(WL)*TYPE1* 1
6 81200-K23-D60 CARRIER COMP., RR. 1
7 90101-GE0-000 SCREW, HINGE PATCH 2
8 95701-06016-00 BOLT, FLANGE, 6X16 2
8 95702-06016-00 BOLT, FLANGE, 6X16 2
9 93903-24380 SCREW TAPPING, 4 X 12 2
10 93903-35280 SCREW, TAPPING, 5 X 12 2
11 95701-08014-08 BOLT, FLANGE, 8X14 4
12 61103-KPF-910 RUBBER, FR. FENDER MOUNTING 2
13 61105-KPF-910 COLLAR, FR. FENDER MOUNTING 2
Pinch or scroll to zoom · Drag to pan · Double-tap to toggle