F-10 - FRONT FENDER

HONDA Dream Neo CB110CMH · 8 parts

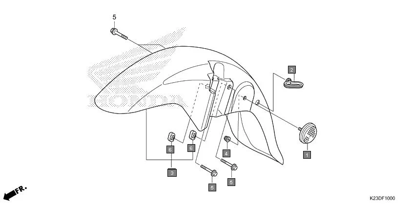
F-10 FRONT FENDER assembly diagram for HONDA Dream Neo CB110CMH

Parts in This Assembly (8)

Ref # Part Number Description Qty
1 33740-KTE-601 REFLECTOR, FR. SIDE REFLEX 2
2 45451-KTE-600 GUIDE, FR. FENDER CABLE 1
3 61100-K14-960ZB FENDER, FR. *NH1* BLACK 1
3 61100-K14-960ZF FENDER, FR. *R355M*.IMPERIAL RED METALLIC 1
3 61100-K14-960ZG FENDER, FR. *NHA04M*...GENY GRAY METALLIC 1
4 90302-KTE-911 NUT FLANGE PT 6MM 2
5 96001-06020-00 BOLT, FLANGE, SH. 6 X 20 4
6 90304-K14-960 NUT, 6MM 4
Pinch or scroll to zoom · Drag to pan · Double-tap to toggle