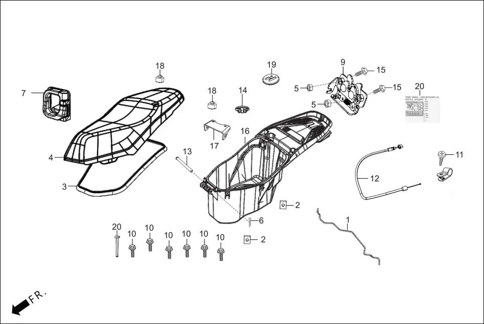
F-12-DRUM - SEAT/LUGGAGE BOX
Hero XOOM 125 OBD2(Apr., 2025) · 18 parts
Parts in This Assembly (18)
| Ref # | Part Number | Description | Qty | |
|---|---|---|---|---|
| 1 | 17515-ABV-000 | TUBE DRAIN | 1 | |
| 2 | 90344-AAW-000 | NUT CLIP 5MM | 4 | |
| 3 | 77115-ABV-000 | SEAT RUBBER SEAL | 1 | |
| 4 | 77200-ABV-000 | SEAT ASSY DOUBLE | 1 | |
| 5 | 94001-06000-0S | NUT, HEX., 6 MM | 1 | |
| 6 | 94201-25250 | PIN, SPLIT, 2.5X25 | 1 | |
| 7 | ABVAB4H000000G | HOOK LOAD ASSY | 1 | |
| 9 | 77236-ABV-001 | SEAT CATCH COMP | 1 | |
| 10 | 90111-KPL-900 | BOLT, INNER COVER | 5 | |
| 12 | 77243-ABV-001 | CABLE SEAT LOCK | 1 | |
| 13 | 77202-AAW-D00 | SEAT HINGE PIN | 1 | |
| 14 | 81133-AAW-500 | CAP CHOKE CABLE | 1 | |
| 15 | 92000-06012-0A | BOLT,HEX.,6X12 | 2 | |
| 16 | 81250-ABV-000 | LUGGAGE BOX | 1 | |
| 17 | 77201-AAW-D00 | HINGE PLATE | 1 | |
| 18 | 77206-KG8-900 | RUBBER, SEAT SETTING | 4 | |
| 19 | ABVAB0F002000G | EMBLEM CAP BOX LUGGAGE ASSY | 1 | |
| 20 | ABVAB4M001000G | PIN LOAD HOOK | 1 | |