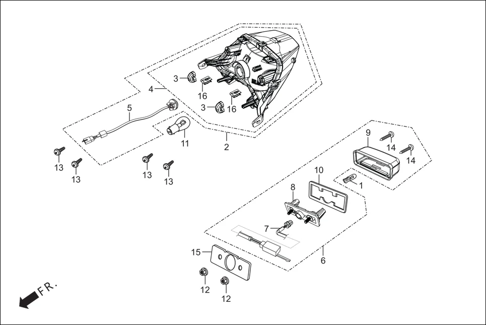
F-23 - TAIL LIGHT
Hero Passion Pro BSVI (Jan, 2021) · 13 parts
Parts in This Assembly (13)
| Ref # | Part Number | Description | Qty | |
|---|---|---|---|---|
| 1 | 33301-KVE-900 | BULB, WEDGE BASE (T10, 12V-5W) | 1 | |
| 2 | 3370B-AAC-80099 | UNIT TAIL LIGHT | 1 | |
| 4 | 33702-AAC-80099 | UNIT COMP TAIL LIGHT | 1 | |
| 5 | 33703-AAC-80099 | SOCKET COMP. TAIL LAMP | 1 | |
| 6 | 3372B-AAC-801 | LIGHT ASSY., LICENSE (W/O BULB). | 1 | |
| 7 | 33721-AAC-801 | SOCKET COMP.. | 1 | |
| 8 | 33722-AAG-301 | BASE COMP | 1 | |
| 9 | 33723-AAG-301 | COVER COMP | 1 | |
| 10 | 33729-MCZ-003 | PACKING, LENS | 1 | |
| 11 | 34907-KVN-901 | BLUB, TAIL & STOP LIGHT | 1 | |
| 12 | 94050-05000 | NUT FLANGE, 5 MM | 2 | |
| 15 | 80203-KVE-900 | RUBBER LICENSE LIGHT | 1 | |
| 16 | 90311-AAF-401 | SPEED NUT (M6) | 2 | |